*PERIODIC

Define periodic symmetry for a cavity radiation heat transfer analysis.

This option is used to define cavity symmetry by periodic repetition in a given direction. It can be used only following the RADIATION SYMMETRY option.

This page discusses:

See Also
*RADIATION SYMMETRY
In Other Guides
Cavity Radiation in Abaqus/Standard

ProductsAbaqus/StandardAbaqus/CAE

TypeHistory data

LevelStep

Abaqus/CAEInteraction module

Required parameters

TYPE

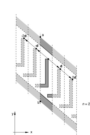
Set TYPE=2D to create a cavity composed of the cavity surface defined in the model and a series of similar images generated by its repetition according to a two-dimensional distance vector. The repeated images are bounded by lines parallel to line ab (see Figure 1). The distance vector must be defined so that it points away from line ab and into the domain of the model. This option can be used only for two-dimensional cases.

Set TYPE=3D to create a cavity composed of the cavity surface defined in the model and a series of similar images generated by its repetition according to a three-dimensional distance vector. The repeated images are bounded by planes parallel to plane abc (see Figure 2). The distance vector must be defined so that it points away from plane abc and into the domain of the model. This option can be used only for three-dimensional cases.

Set TYPE=ZDIR to create a cavity composed of the cavity surface defined in the model and a series of similar images generated by its repetition in the z-direction. The repeated images are bounded by lines of constant z-coordinate (see Figure 3). The z-distance vector must be defined so that it points away from the z-constant periodic symmetry reference line and into the domain of the model. This option can be used only for axisymmetric cases.

Optional parameters

NR

Set this parameter equal to the number of repetitions used in the numerical calculation of the cavity view factors resulting from the periodic symmetry. The result of this symmetry is a cavity composed of the cavity surface defined in the model plus twice NR similar images, since the periodic symmetry is assumed to apply both in the positive and negative directions of the distance vector. The default value is NR=2.

Data line to define periodic symmetry of a two-dimensional cavity (TYPE=2D)

First (and only) line
  1. x-coordinate of point a (see Figure 1).

  2. y-coordinate of point a.

  3. x-coordinate of point b.

  4. y-coordinate of point b.

  5. x-component of periodic distance vector.

  6. y-component of periodic distance vector.

Data lines to define periodic symmetry of a three-dimensional cavity (TYPE=3D)

First line
  1. x-coordinate of point a (see Figure 2).

  2. y-coordinate of point a.

  3. z-coordinate of point a.

  4. x-coordinate of point b.

  5. y-coordinate of point b.

  6. z-coordinate of point b.

Second line
  1. x-coordinate of point c.

  2. y-coordinate of point c.

  3. z-coordinate of point c.

  4. x-component of periodic distance vector.

  5. y-component of periodic distance vector.

  6. z-component of periodic distance vector.

Data line to define periodic symmetry of an axisymmetric cavity (TYPE=ZDIR)

First (and only) line
  1. z-coordinate of periodic symmetry reference line (see Figure 3).

  2. z-component of periodic distance vector.

Figure 1. PERIODIC, TYPE=2D option.

Figure 2. PERIODIC, TYPE=3D option.

Figure 3. PERIODIC, TYPE=ZDIR option.