Detection of overclosed surfaces

If two faces in an assembly intersect at any point, the contact detection tool reports those faces as an overclosed contact pair. Overclosed contact pairs that appear in the contact pair candidates table must still meet the surface orientation requirements. A red zero in the Separation column indicates that the two surfaces in the contact pair are intersecting.

Note: A black zero in the Separation column implies that the two surfaces are exactly touching at their closest points. There is no overclosure or intersection in this situation.

If you extend or merge an overclosed surface to include faces that are not overclosed, Abaqus/CAE reports the entire contact pair as overclosed.

You should visually inspect all overclosed surfaces before creating contact interactions. Models with severe overclosures should be adjusted to remove the overclosures (or at least lessen their severity). Minor overclosures can be addressed by using the contact adjustment options (available in the contact pair candidates table) or the interference fit options (available in the contact interaction editor).

Faces must intersect to be reported as overclosed. If a face is enclosed entirely within another part instance, the automatic contact detection tool does not report that face as being overclosed. Such a face may still meet the separation and orientation requirements with respect to an external face on the enclosing instance. By default, Abaqus/CAE eliminates enclosed faces from the contact pair candidates table because the surfaces do not “overlap” (see Additional criteria for defining contact pairs). If you disable the overlap checks, Abaqus/CAE reports a contact pair candidate for enclosed faces, but the contact pair candidates table does not provide any indication that the surfaces are overclosed or penetrating. Because the contact detection tool does not recognize these faces as overclosed, the adjustment options that are applied to overclosed surfaces by default (see Default interaction and constraint parameters) are not applied to this contact pair. If an enclosed face is embedded deeper than the separation tolerance from any external face, the automatic contact detection tool does not identify those faces as a contact pair candidate.

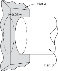
As an example, consider the model in Figure 1.

Figure 1. In this model, one end of the cylindrical part instance is entirely enclosed within another part instance.

The separation tolerance specified for this search is 0.1. The circular face at the end of part instance B is within the separation tolerance and is intuitively opposed to the rectangular face on part instance A, but there is no intersection. The contact pair candidates table lists a normal contact pair consisting of the circular face and the rectangular face separated by a distance of 0.06. The cylindrical side face of part instance B is listed as overclosed because it intersects the rectangular face of part instance A.

Although the contact detection tool does not recognize completely enclosed surfaces as being overclosed, such surfaces are still treated as overclosures during an analysis. Severe overclosures commonly lead to convergence difficulties. When reviewing overclosed contact pairs in the contact pair candidates table, check adjoining surfaces for fully enclosed faces.